resisting architechtures-legacy
2018
Smart living and working environments are as smart as Big Tech companies want the people who work and live there to be. Accesses are restricted, temperatures are adjusted, and moods and feelings are ultimately regulated. The subservience that surrounds us in automated work and living environments condemns us to passivity and tempts us to submit to systems whose motives are not obvious or known. Resistance disturbs, gets in the way and inspires. Without resistance there would be no upheaval, no synthesis and no progress – resistance is essential! Resisting Architectures are living and work environments that don't say »yes!« and serve quietly. Instead, they take us seriously and interact with us by literally resisting our intentions. Resisting Architectures support us in the efficient realization of our true intentions by sensitizing us for the manipulative potential of smart environments.

The "resisting architectures" series of objects investigated how kinaesthetic resistance in physical interactions between people and objects could be enriched with a level of information. The result is 5 objects (door closer, door handle, trolley, rotary switch, drawer) with potential areas of application in which this visual and auditory non-detectable information channel can be used in the context of ambient communication to communicate information to the user.A gradually adjustable tangible resistance enables users to subtly communicate a change of state without completely preventing the planned interaction. An example application was the environment of a hospital, where the door handle was more difficult to operate if the disinfectant dispenser had not been operated first. The change in status made users aware of the misbehaviour without it being visually recognisable to third parties present and thus without exposing them, instead of a visual or auditory warning signal.This series of projects was developed together with Prof Hannes Nehls as part of the research project "Potential of ambient communication Environments" in the years 2016-2018 and was translated into functional prototypes and three patents.
DOOR!

The opening and closing of doors have been around for thousands of years. People have learned to interpret the heaviness of doors and the strength that must be exerted to open them. Heavy doors are associated with value, demarcation and danger. Door! is a mechatronic enhanced door. To open it requires users to overcome an perceivable resistance. This way, simple information can be communicated to users, such as a danger in the next room.
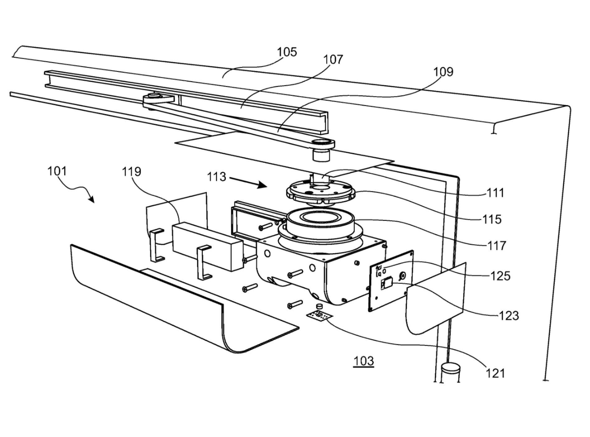
SWITCH!

Knobs are everywhere! They allow us to adjust our environment to our needs. A bright light is dimmed, a heater and bass boxes are turned up – it's always us who are in charge! Knob! turns the game and slows us down, regulates us down and prevents us from energetic stupidities! The dimmer increases resistance when being turned into states that the system identifies as unecological, making it harder to turn things further up.
TROLLEY!

Classic navigation systems determine the position of a user and guide them visually and acoustically to destinations. The audio-visual communication of these systems can bind the attention, and their use can lead to danger to users due to visual and cognitive distractions. Trolley! is a kinesthetic navigation system in the form of a trolley that guides users to a destination simply by introducing frictional resistance into the individual wheels of the trolley.
HANDLE!

The door handle is an essential interface for opening doors. Application of force to the handle leads to the door lock opening and thus of the door. Handle! enhances the classic door handle with the capability to adjust the resistance that must be overcome to push the door handle. Users perceive this resistance as a proprioceptive stimulus and learn to interpret it. Not perceptible by third parties, simple information such as warnings can be privately communicated to users.
DRAWER

The ease with which drawers can be opened without strength is considered a requisite for a barrier-free and joyful drawer. Drawer! defies this paradigm and makes access to the contents of drawers perceptibly more difficult by introducing an adjustable resistance. Thus, in the process of opening a drawer, simple warnings can be communicated that should be heeded when handling the drawer's contents.
Patents
DE: 10 2018 110 203.8

Türdrückergarnitur zur Vermittlung von Information, welche bei einem Öffnungs- oder Schließvorgang einer zur Türdrückergarnitur gehörenden Tür übermittelt wird, an einen Benutzer: https://register.dpma.de/DPMAregister/pat/register?AKZ=1020181102038&CURSOR=0
DE: 10 2019 110 741.5

Feststellvorrichtung für ein Türblatt zum Vermitteln einer Information an einen Benutzer beim Öffnen oder Schließen des zu einer Tür gehörenden Türblattes und Türschließer: https://register.dpma.de/DPMAregister/pat/register?AKZ=1020191107415&CURSOR=2
DE: 10 2018 115 729.0

Lenkrolle zum Vermitteln einer Information an einen Benutzer beim muskelbetriebenen Bewegen von einem rollbaren Gegenstand und rollbarer Gegenstand : https://register.dpma.de/DPMAregister/pat/register?AKZ=1020181157290&CURSOR=1